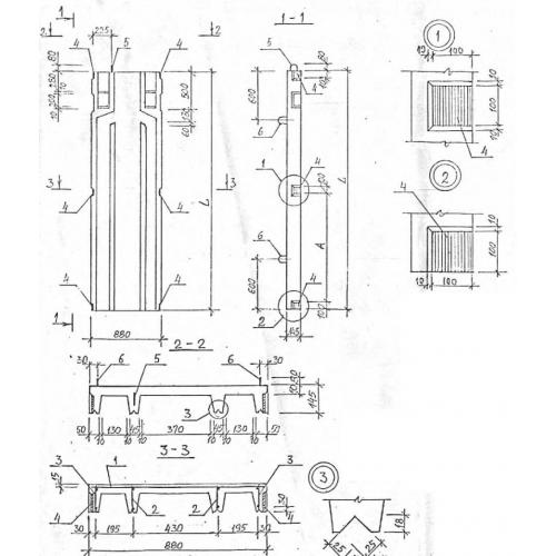
Вентблок ВБ-3-3.0 предназначен для использования в железобетонных конструкциях. Он обеспечивает надежную вентиляцию и отвод влаги изнутри конструкции, что способствует увеличению ее срока службы. Вентблок имеет компактные размеры и легкий вес, что облегчает его установку и обслуживание.
Оформим коммерческое предложение в течение 30 минут!
